Brevets
Répondre aux grands défis acoustiques industriels par de nouvelles technologies
Entreprise deeptech, nous développons nos propres technologies acoustiques
Ces innovations répondent à des grands défis industriels et et sont mises en œuvre dans nos produits ou intégrées dans ceux d'autres entreprises partenaires.
Nos inventions brevetées découlent de notre analyse des grands besoins industriels, de notre maîtrise fine des phénomènes acoustiques, et de notre capacité à traiter les problèmes de bruit de façon originale.


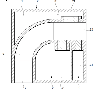
Capot insonorisant, agencement insonorisant le comprenant, et menuiserie correspondante
Le brevet FR3163437 porte sur une solution acoustique dédiée à la réduction du bruit transmis par les entrées d’air et systèmes de ventilation. Cette invention répond à une problématique récurrente du bâtiment : concilier performance acoustique, performance aéraulique et intégration architecturale.
La solution est composée d'un canal de ventilation relié de manière fluidique à un ensemble insonorisant composé d'au moins une chambre cloisonnée et d'un filtre acoustique poreux.
Le dimensionnement précis des volumes, des sections de passage et des propriétés du matériau acoustique formant le filtre permet de maîtriser la réponse fréquentielle tout en limitant les pertes de charge, garantissant ainsi le maintien de la ventilation tout en améliorant l'insonorisation de l'entrée d'air ou du système de ventilation.
La solution est modulaire et adaptable, avec la possibilité de configurer plusieurs capots en agencement ou de les intégrer directement dans des menuiseries ventilées. Cette flexibilité permet une adaptation fine aux contraintes spécifiques de chaque projet (niveau sonore, spectre fréquentiel, espaces disponibles, débit d’air).
La solution est intégrée dans l'auvent acoustique lavable d'entrée d'air de fenêtre développé par SIL&ADD, le Sil'FLOW 172.



Dispositif de réduction du bruit de pompes à chaleur
Le brevet n'est pas encore public. Il porte sur une solution acoustique dédiée à la réduction de la transmission du bruit généré par des dispositifs ventilés au moyen d’au moins un ventilateur. Cette invention répond à une problématique récurrente de la ventilation : concilier performance acoustique et performance aéraulique. Autrement dit, réduire le bruit sans perturber le flux d'air.
Cette technologie se différencie donc des systèmes basés sur des persiennes acoustiques dont les pertes de charge sont souvent importantes.
La solution sera intégrée dans le cache acoustique d'unité extérieur de pompe à chaleur que SIL&ADD est en train de développer.
La Région Pays de la Loire via Solutions & Co et Bpifrance a financé des essais expérimentaux sur prototypes au travers de l'aide PL2I "personne physique".
Depuis juillet 2024, le développement de ces technologies est financé par l'État dans le cadre de France 2030. Bourse French Tech "Emergence" N° DOS0242368/00.
Aides et financements








